


Michael Jackson
Antigravitacijske cipele
Kako se na koncertima i u videospotu za pjesmu ‘Smooth Criminal’ glazbenik bez problema nagnuo pod kutom od 45 stupnjeva i nije pao?!?, pitali su se me mnogi. Odgovor je u antigravitacijskim cipelama koje je glazbenik izumio i patentirao 1992. godine. Cipele su izrađene tko da drže dio noge kako bi se osoba koja ih nosi mogla što više nagnuti naprijed a da se ne ozlijedi, a u potpeticu je ugrađena posebna kuka koja se zakači u fiksator koji je postavljen na pozornici. “Zato se osoba koja nosi cipele može nagnuti naprijed a da na nju ne djeluje gravitacija”, objasnio je Jackson svoj izum i neviđene plesne pokrete.


Hedy Lamarr
Sustav izmjeničnih frekvencija
Slovila je za jednu od najljepših glumica zlatnog doba Hollywooda, a današnji je život teško zamisliti bez nje jer se na njezinu patentu tehnologije izmjeničnih frekvencija temelje WiFi, bluetooth i GPS. U jeku Drugoga svjetskog rata sa skladateljem Georgeom Antheilom osmislila je radijsko navođenje torpeda uz ‘preskakanje frekvencija’ kako ih neprijatelji ne bi mogli ometati. Sustav je koristio 88 frekvencija, a iako su patent odmah ustupili mornarici i vojsci, izum je jednostavno bio previše napredan za to vrijeme i tek se nekoliko desetljeća poslije počeo koristiti i unapređivati, a tehnologiju koristimo i danas.


Eddie Van Halen
Potporni sustav za žičane instrumente
Jedan od najboljih rock gitarista koji je u bogatoj karijeri s bendom Van Halen usavršavao svoje tehnike i zvuk, vlasnik je nekoliko patenata. Svi su povezani s instrumentom koji je obožavao i kojim se proslavio, a najpoznatiji je - potporni sustav za žičani instrument. Naprava se kao remen pričvrsti oko struka, na nju se postavi gitara koja se više ne mora držati pa su gitaristu obje ruke slobodne, što ‘sviraču dopušta da instrument svira na potpuno nove načine te stvori nove tehnike i zvukove koji su do tada bili nepoznati’.
Ljudski um je puno zanimljiviji od izgleda, rekla je to jednom Hedy Lamarr koja je još tijekom zlatnog doba Hollywooda srušila predrasude da su glumci i pjevači samo zabavljači koji nemaju ništa pametno reći. Izumila je izmjeničnu frekvenciju kako bi pomogla savezničkoj ratnoj mornarici u Drugome svjetskom ratu, a tehnologija je bila toliko napredna da su morala proći desetljeća prije nego što je upotrijebljena. Ona je samo jedna u nizu slavnih osoba koje su se proslavile zahvaljujući glazbenim ili glumačkim talentima, a daleko od očiju javnosti bavili su se inovacijama i izumima koje su patentirali. Florence Lawrence, koju danas nazivaju prvom filmskom zvijezdom, 1914. izumila je žmigavce, odnosno pokazivače kojima vozač automobila može pokazati promjenu smjera. Zeppo Marx, jedan od glumačke braće Marx, kada nije snimao komedije osmišljavao je izume, a jedan od njih danas je koristan milijunima ljudi. Patentirao je srčani monitor za puls koji emitira vizualne i zvučne signale u slučaju promjene pulsa pacijenta. Tehnologija koju je izumio 1967. u međuvremenu je napredovala, ali i danas se koristi i spašava živote. Glumac Steve McQueen je za film ‘Bullitt’ i Ford Mustang GT koji je u njemu vozio patentirao sjedalo koje prati konture vozača. Strast prema maketama vlakova iskoristio je glazbenik Neil Young koji je izumio tehnički napredan model s dimom, zvukovima i svjetlima koji pruža realistično iskustvo, a patentirao je i poseban bežični daljinski upravljač kojim njegov sin, koji boluje od cerebralne paralize, može upravljati vlakovima.

Leonora Surian Popov
Nosač za laptop
Prilikom posjeta SAD-u 2011. godine glumica i glazbenica Leonora Surian Popov i njezin otac, operni pjevač Georgio Surian primijetili su kako ljudi nose laptope, drže ih na koljenima, s njima čuče, što ih je potaknulo na inovaciju. “Torba se jednim potezom pretvara u nosač. Zakvači se oko vrati pa s tim nosačem na računalu možete raditi i dok hodate, a da je ono stabilno”, objasnila je Leonora. Izum je najprije izradila od kartona i platna te ga zaštitila u Savezu inovatora. Prototip je bio na brojnim natjecanjima, a na međunarodnoj izložbi inovacija (bilo ih je 1054) u Moskvi 2012. osvojio je srebrnu medalju.


Đurđica Vorkapić
Držač za torbe i vrećice
Dizajnerica i vlasnica modnog brenda Hippy Garden osmislila je brojne inovacije za koje je u Hrvatskoj i inozemstvu dobila mnogo nagrada. Njezin držač za torbe i vrećice koji se može zakačiti za bilo koji predmet osvojio je 2011. srebrnu medalju na sajmu u Ženevi - najvećem svjetskom natjecanju inovatora. Za taj je izum dobila zlatnu medalju na hrvatskom sajmu. Osvojila je i brončanu medalju za kutije za hranu s rupama za ventilaciju koje se mogu postaviti na kontejnere, što omogućuje podjelu hrane bez kopanja po smeću.


Christie Brinkley
Didaktička igračka za učenje abecede
Manekenka koja je tijekom karijere krasila više od 500 naslovnica časopisa, učeći slova s kćeri Alexom Rayom Joel, koju je dobila u braku s glazbenikom Billyjem Joelom, osmislila je novu didaktičku igračku. “Igračka se sastoji od nekoliko dijelova, a koristi se za učenje, prepoznavanje i konstrukciju brojnih oblika, a najbolja namjena joj je učenje abecede i brojeva”, opisala je Brinkley. Igračka se sastoji od magnetskih oblika raznih boja koji se slažu na magnetsku podlogu pomoću točkica koje pokazuju kako se trebaju sklapati pa djeca igrajući se uče abecedu.


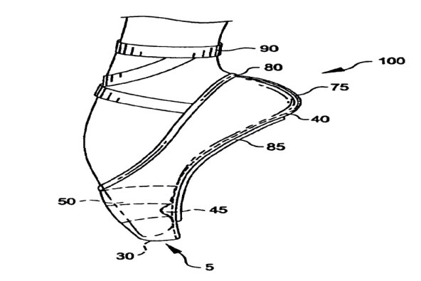
Bill Nye
Baletne cipelice s ugrađenim osloncem
Američki znanstvenik i TV zvijezda, autor edukativnih emisija za djecu, tijekom snimanja dokumentarnog serijala o kostima i mišićima baletana vidio je da plesači imaju krvave prste i doznao da su mnogi imali operacije zbog nesnosnih bolova i lomova. Zato je osmislio i 2005. patentirao baletne cipelice u koje je ugradio posebne potpornje po dužini, tubularni rukav i poseban ‘greben’ kako bi prsti baletana imali bolji oslonac. “Inovacija daje potporu plesačevim stopalima, prstima i zglobovima dok pleše na vrhovima prstiju”, objasnio je cijenjeni inženjer te dodao kako je u rješavanju problema upotrijebio opće principe fizike.


Marlon Brando
Sustav uštimavanja bubnjeva
Cijelog je života legendarni glumac Marlon Brando obožavao svirati bubnjeve i razmišljao je kako ih može unaprijediti. Počevši od 2002. godine, odobrena su mu četiri patenta za novi sustav uštimavanje conga bubnjeva. Umjesto da se naštimavaju pomoću pet ili šest matica pri vrhu, izmislio je jednu ručicu na dnu. Glumac je preminuo 2004. pa nije vidio produkciju svoga djela, ali 2011. bubnjar Poncho Sanchez rekao je svoje dojmove: “Dobro je zvučalo, ali proizvodnja je bila preskupa i ljudi su bubnjeve stalno vraćali na popravke. No jako dobra ideja.”


Paula Abdul
Dinamičan stalak za mikrofon
Glazbenica nije bila zadovoljna ravnim stalcima za mikrofone koje je bilo teško navlačiti po pozornici tijekom nastupa pa je izumila i 2009. godine patentirala svoju verziju na kojoj može stajati i naginjati se prema publici ili od nje. Njezina ‘pomoćna dinamična aparatura za mikrofon’ sastavljena je od metalnog stalka i polukružne baze ispunjene cementom. “Zbog takve ispune težina korisnika može se upotrijebiti kako bi se mijenjao smjer i nagib same baze, a time i mikrofona”, objasnila je 59-godišnja Amerikanka u zahtjevu za izdavanje patenta.


Jamie Lee Curtis
Pelene s džepićem za vlažne maramice
“Mijenjala sam pelene kćeri Anne, a vlažne maramice nisu mi bile u blizini. U tom sam trenutku sama sebi rekla: ‘Moram izumiti pelene koje dolaze s maramicama!’ I tako sam izumila Dipe and Wipe”, objasnila je glumica Jamie Lee Curtis. Pelene s džepićem za vlažne maramice patentira je 1988. godine, a svoj je izum tada opisala riječima: “Ovo je jednokratna odjeća za bebe u obliku pelene koja s vanjske strane ima vodootporni džepić koji se može zatvoriti i sadrži jednu ili dvije vlažne maramice. Prednosti ovoga proizvoda odmah su jasno vidljive.”


James Cameron
Aparatura za pogon u vodi
Redatelj ovjenčan Oscarima patentirao je nekoliko svojih izuma, a među njima je i onaj pod brojem 4996938 naziva ‘aparatura za pogon korisnika u podvodnim uvjetima’. Cameron je ovaj uređaj osmislio i napravio s bratom Michaelom kako bi lakše snimali podvodne scene u njegovu filmu ‘Bezdan’ iz 1989. godine. Maleni uređaj koji ronilac drži u rukama opremljen je s dva propelera i njima kamerman koji u morskom bezdanu snima scene jednostavno može rukovati.


Julie Newmar
Donje rublje za oblikovanje tijela
Glumica se 1960-ih proslavila kao zanosna Catwoman u seriji ‘Batman’, a desetljeće kasnije primijetila je da se najlonke izrađuju kako bi stisnule trbuh žena, a pritom im ravnaju i stražnjicu. Zato je osmislila i 1974. godine patentirala elastične najlonke koje ističu obline. “Htjela sam da stražnjica izgleda poput jabuke, a ne sendviča od šunke”, objasnila je svoj izum Amerikanka koja je patentirala i poseban, iznimno lagan grudnjak koji podiže grudi te pruža potpunu slobodu u pokretu, pogotovo tijekom plesa i bavljenja sportom ili u drugim aktivnostima.


Prince
Prijenosne električne klavijature
Svestrani glazbenik Prince Nelson osmislio je 1992. posebne klavijature za koje mu je dvije godine poslije odobren patent pod brojem D349127. Dizajnirao je prijenosne električne klavijature neobičnog izgleda s dva oštra šiljka na vrhu i nazvao ih Purpleaxxe. Ovaj instrument sam nije nikada svirao, barem ne na koncertima, nego je to bio zadatak njegova klavijaturista Tommyja Elma. Američkom patentnom uredu zahtjev je predao pod svojim pravim imenom Prince R. Nelson, a kako je patent istekao 2008., njegov dizajn sada može koristiti bilo tko.


